
碳酸鈣
碳酸鈣是一種白色固體化合物,化學式為CaCO?,廣泛存在于自然界中,如石灰石、大理石和珍珠。它不溶于水,但能與酸反應釋放二氧化碳。碳酸鈣主要用于建筑材料、工業(yè)填料、食品添加劑和醫(yī)藥產品,是重要的工業(yè)原料之一。
- 設計輸出根據客戶需求
- 應用用作填充物、人造地磚、橡膠、塑料、造紙、涂料、油漆、油墨、電纜等。
- 設備錘式破碎機、球磨機、梯形磨機、超細粉磨機等。
碳酸鈣再加工廠基本工藝

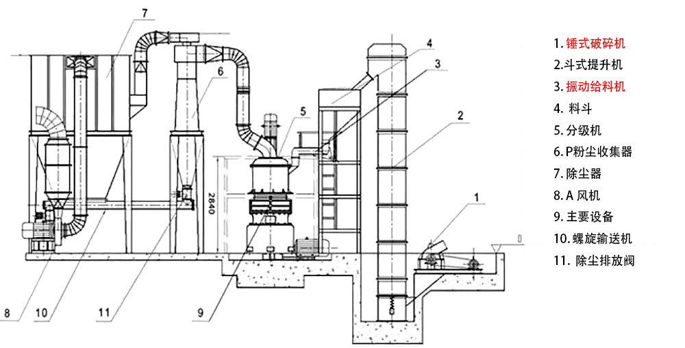
首先,石灰石、方解石和大理石等原材料是從采石場開采的。然后對這些原料坍落點經過精心挑選、清洗,以保證成品碳酸鈣粉的高質量。然后這些干燥和清洗后的原料將經過第一破碎機和二次破碎機,如顎式破碎機和錘式破碎機,成為所需的進料粒度。
此時,這些材料已準備好進行進一步研磨。首先,將原料放入料倉中,通過振動進料裝置將原料輸送到球磨機。在球磨機中,在介質球的沖擊下,這些原料被研磨成細小的碳酸鈣粉末。
然后球磨機的物料將被吹過分級機。所需的細磨碳酸鈣粉將輸送到產品倉,而較粗的材料將返回球磨機進行重磨。最終產品將被包裝和儲存以備使用。
當然,除了磨機、分級機等核心機外,還有其他輸送系統、除塵系統、包裝系統。此外,整個碳酸鈣生產過程可以全自動,并由操作面板控制。
在線詢價您可以填寫下面的表格,把您的聯系方式和產品需求提交給我們,我們將盡快與您聯系解決,謝謝!為了能及時和您取得聯系,請您務必完整填寫您的聯系方式和需求信息。
上一篇: 石膏下一篇: 履帶移動式建筑垃圾處理生產線